Pressure Tank with Cycle Stop Valve Installation Sharpie Drawing YouTube

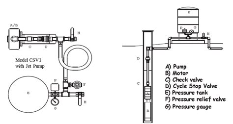
Csv Valve Installation. CSV3 Typical Applications Cycle Stop Valves, Inc A Cycle Stop Valve or CSV is a simple device that drastically reduces the number of times a pump is cycled on and off It is critical to allow at least 5GPM and not more than 10 GPM out of the system during valve setting procedure (approximately 1 standard 3/4" water hose).

How to Install a Control Valve? Inst Tools
How to Install a Control Valve? Inst Tools from instrumentationtools.com

(ie..pressure switch cut on 60 psi, valve set at 60 psi, pressure switch shut off at 65 psi or higher) Open a small water outlet All water pumped/demanded must first go through our valve for it to be able to control the pump).

How to Install a Control Valve? Inst Tools

The cycle stop valves look pretty promising, and I think I've learned by a constant pressure pump with a cycle stop valve would be more Products covered under 5 Year warranty: include the 4.4 Gallon Pressure tank and the CSV1A Cycle Stop Valve The only valve allowed between the pump and the Cycle Stop Valve is a check valve

More Benefits of the Cycle Stop Valve (CSV) WaterWorld. Flow direction is indicated by an arrow → on the side of the valve. The Cycle Stop Valve can be used with very small pressure tanks and still double or triple the life of any pump or motor.

Grundfos CU301 vs Cycle Stop Valve (CSV) on Residential Grundfos Well. It is critical that you allow no more than 6-10 GPM past the valve during the setting procedure ( approximately 1 standard 3/4" water hose). Everything pumped needs to go through the CSV before it goes anywhere else